Bloqueador para llaves térmicas 66853


Categoría:

Marca:

Detalle:

Modelos/Códigos

Bloqueador para llavé térmica 66853

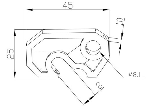
Este bloqueador se adapta a llavés termo magnéticas pequeñas con palanca de menos de 7.7mm de ancho.

Adecuado para llaves unipolares, bipolares o trifásicas.


Se ajusta con un destornillador.

No puede aflojarse el tornillo de ajuste hasta que no se retira el candado.

 

Bloqueador para llavé térmica 66853

Color: Amarillo

Material: Nylon

Requiere Herramienta

Acepta candados hasta 8mm diámetro.

 

pdf Ficha Técnica

Envíe un mail si necesita más información




Debe Ingresar o Registrarse en "MI CUENTA" para poder enviar un mail


1105
Bloqueador para llaves térmicas 66853
253
Ayacucho 2383 (S2000FLG) - Rosario - Santa Fe - Argentina
+54 341 4230123 y líneas rotativas
Seguinos en las redes: